音叉液位开关的顶装和侧装
不同于市面上固液兼测的音叉开关,计为Ring-11音叉液位开关是一款专用于液位测量的物位仪表。其基于悬臂梁的振动原理,采用音叉作为振动探头,利用压电器件实现振动的驱动与检测。由于其测量精准、维护方便,广泛用于水利、化工、环保、食品、医药等行业中各种容器、槽罐和管道的液位测量。但实践中如果安装不当,也会使其应用大受影响。为此,本文就来谈谈音叉液位开关的安装问题。

音叉液位开关常见的有顶装和侧装两种。顶装方式主要采用垂直安装,一般用于测量较为粘稠的液体或者罐体四周空间狭小不便安装的情况。而侧装主要采用水平安装的方式。从现场的实际应用看,采用水平安装方式的较为普遍些。
但无论采取顶装还是侧装,在安装时需要注意以下几点:
1. 安装方向
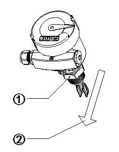
安装音叉液位开关时,应使叉体面和液体升降或流动保持方向一致,以避免挂料或由于介质对叉体的阻力而产生的测量误差,如下图所示。


①纹连接的标志点 ②介质流动方向
2. 安装位置
在安装时,应使仪表远离入液口进行安装。
这是因为,根据音叉液位开关的工作原理,叉体(探头)是液位开关的关键组件,为使叉体不致因安装不当受损,确保仪表正常工作,仪表安装位置的选择就显得非常重要。如下图所示,在选择音叉液位开关安装位置时,应注意避开入液口进行安装,以免因安装在入料口位置容易造成测量误差,甚至损坏仪表。

3. 户外和潮湿环境下的安装
当仪表安装在户外或有潮气的环境中,如遇下雨或存在冷凝现象时,雨水和冷凝水便会随之往下流,所以在接入电缆之前,应做好防潮措施,将电缆线弯曲并朝下引,以防止水或潮气进入仪表,如下图所示。

4. 压力/真空环境下的安装
对于过压或欠压甚至真空的容器或管道,必须保证过程连接处的密封完好性。安装之前应确认好密封材料是否满足现场过程温度和过程压力的要求。

计为Ring-11音叉液位开关是一种高可靠性紧凑型的专用于液位测量的控制开关。音叉长度仅有40mm,不仅适用于容器、储罐、槽罐中的液位测量,而且适用于导管的液位测量。同时,基于检测叉体浸泡于介质时振动频率变化的设计原理,产品可测量介质密度低至0.5g/cm³,不仅适用于盐酸、硫酸、硝酸、碱液、工业废水、糖浆、药液等液位测量,而且特别适用于有泡沫、气泡、粘稠液体以及振动干扰的复杂测量场合。尽管其质量和各种参数可与进口品牌相媲美,但在使用前,也要注意正确安装,才能使其效用得到更好地发挥。
